Charnière de meuble PRÄMETA, à fraiser, angle d'ouverture jusqu'à 180°, pour portes applique, sans élément de cadre





44.562.11





prev
next

Charnière de meuble PRÄMETA, à fraiser, angle d'ouverture jusqu'à 180°, pour portes applique, sans élément de cadre
44.562.
Entièrement en métal nickelé, visible uniquement sur l'arête de la porte, réglage 2D au moyen de 2 vis sans tête,
fixation invisible fraisée avec vis à tête fraisée (Ø 3,5 mm) pour panneaux agglomérés, sans vis
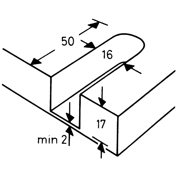
Longueur/Largeur boîtier de fraisage: 50 / 16 mm
Profondeur de fraisage: 17 mm
Réglable latéralement: 8 mm
Réglable en profondeur: 4 mm
Epaisseur de porte: 19 - 22 mm
Epaisseur des côtés: 16 - 24 mm
- Elément de cadre, voir 44.562.51 und 44.562.55+56

- Marque
- Prämeta
- Type de produit
- Charnière de meuble
- Type de charnière
- Charnière d'angle
- Angle d'ouverture
- 180°
- Numéro d'usine
- 591 ORT


