Fensterdichtung DEVENTER SP 125



25.026.05-06



prev
next

Fensterdichtung DEVENTER SP 125
25.026.
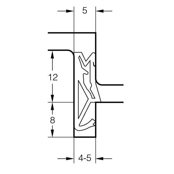
TPS-Qualität, thermoplastisches Elastomer Schaum, als Flügelfalzdichtung einsetzbar, Anschlagluft 5 mm
- ¦ = Verkauf nur in ganzen Packungen.

- Anschlagluft
- 5 mm
- Falzbreite
- 12 mm
- Material
- TPS
- Nutbreite
- 4 - 5 mm
- Nuttiefe
- 8 mm
- Produktart
- Flügelfalzdichtung
- Typ
- SP 125
